

https://openstd.samr.gov.cn/
下载不揍:
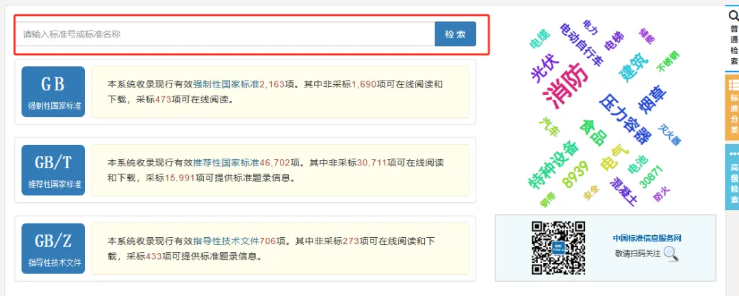
Step01 : 先登录上述链接,找到搜索框:

Step02:输入您要检索的内容,例如工业机器人:

可以筛选现行,近两年的标准,废除的不需要看。
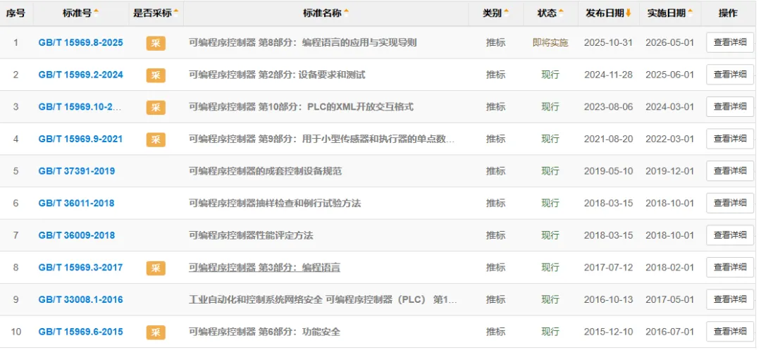
Step03:找到您要下载的标准,点击查看详情或标准号进入:

进去后,就可以预览和下载了。点击对应的按钮即可。例如我们找到的《工业机器人控制器开放式通信接口标准》:

标准里面的内容还是可以给我们行业相关的研发、生产相关人员有指导性帮助的。例如下图1的机器人伺服的控制状态机,可以参考这类逻辑进行控制器的大体框架搭建:

状态转移说明:状态迁移 0:开始->关闭事件:重置动作:控制器自检或者初始化,开始通信。状态迁移 1:关闭 -> 打开事件:从主机收到“打开”指令。动作:驱动器伺服加电,抱闸打开。状态迁移 2:打开 -> 操作使能事件:从主机收到“操作使能”指令。动作:执行运动和 I/O 命令。状态迁移 3:操作使能 -> 打开事件:从主机收到“中止操作”指令。动作:停止执行运动和 I/O 命令。状态迁移 4:操作使能 -> 关闭事件:从主机收到“关闭”指令。动作:执行完当前运动和 I/O 命令,关闭伺服和抱闸。状态迁移 5:打开 -> 关闭事件:从主机收到“关闭”指令。动作:关闭伺服和抱闸。状态迁移 6:操作使能 -> 快停事件:从主机收到“快停”指令。动作:执行“快停”功能。状态迁移 7:快停 -> 操作使能事件:“快停”功能执行完毕。从主机收到“操作使能”指令。动作:执行运动和 I/O 命令。状态迁移 8:快停 -> 关闭事件:“快停”功能执行完毕。从主机收到“关闭”指令。动作:关闭伺服和抱闸。状态迁移 9:所有状态 -> 故障处理事件:控制器发生了内部错误。动作:执行错误处理功能。状态迁移 10:故障处理 -> 故障事件:执行错误处理功能完毕,可以关闭伺服和抱闸。动作:控制器停止执行运动和 I/O 命令。状态迁移 11:故障 -> 关闭事件:从主机收到“重置”指令。动作:如果伺服和抱闸未被关闭,则关闭伺服和抱闸。

有兴趣的朋友可以自行尝试哦!如果对您有帮助,还请点赞、推荐和转发哦!



请长按下方二维码关注Hello工控
