这一期直接给大家带来18款常用的软件,全部都是免安装,直接使用,无广告,包括日常办公、电脑系统维护、图片处理、硬件管理、屏幕录制等诸多方面。
下载:http://www.51xiazai.cn/soft/85579.htm
Everything是一款基于名称实时定位文件和文件夹的小工具,体积小巧,界面简洁,快速搜索,不占用系统资源,实时更新。

Everything也是一个老朋友了,非常适合多个硬盘,超大内存的电脑用户,电脑文件太多系统自带的搜索功能基本没用,太慢了。
而Everything的强大真的是脱颖而出,搜索速度极快,只要软件对硬盘扫描完成后,寻找到你想要的文件只是一瞬间的事情,当然我至少我这11tb的电脑内存还没有难住它。

听名字就知道,也是一款非常快速的搜索工具,功能相比Everything要更加全面一些,拥有文件分类的功能。

还有非常方便的预览功能,可以预览视频、图片等。

使用起来是很方便,但在实际体验中,在我两百多万个文件的加持下,相比Everything来说要稍微慢一点。

总结来说:如果你是正常的电脑用户,文件数量没有达到百万级别,那么使用两款搜索工具都是可以的,如果是百万级以上的文件数量,推荐还是使用Everything要好一些。

下载:http://www.51xiazai.cn/soft/61779.htm
GPU-Z是一款专门针对显卡的识别工具,非常的简单直观,打开就能直接查看GPU显卡,包括名称、工艺、芯片、厂商信息、显存、带宽、驱动、频率、等信息。

包括显卡的计算能力及技术都是能够直接查看到,非常的方便。

下载:https://www.onlinedown.net/soft/2775.htm
如果你稍微懂一点电脑硬件,可能就会听说过CPU-Z。
CPU-Z是一款装机必备的的CPU检测软件,可以说是检测CPU程度最高的一款软件软件能够带来的信息可能远超你所需要的,非常全面。

名字虽然是CPU-Z,但除了可以检测处理器,还可以检测主板、内存、显卡等详细数据,可以单独查看每一个内存插槽的详细信息,双通道检测。

下载:https://www.billfish.cn/
Billfish是专为设计师打造的面向未来的素材管理工具,可以高效的整理电脑的各类素材。支持图片、音视频、设计源文件、字体等各种格式,包括PNG、JPG、PSD、AI、GIF、SVG、EPS、CDR等格式。


超强的管理工具不仅仅要支持的格式丰富,其他方面也都非常出色。
当然还有更多神器级功能,都是我们能用到的,包括批量重命名、文件重复扫描、字体管理、图片标注、标签管理、星级评分、自动分类、智能标签等

不仅管理功能强大,Billfish的采集功能更是值得一说。

可以轻松收集和整理在创意设计中涉及的灵感图片、音频、视频、源文件等各种素材,让您有更多的时间专注于设计本身!
下载:http://www.downcc.com/soft/41837.html
一款专业的Windows系统优化修复工具,即便是电脑新手也能看懂的页面设计。

主要针对Windows系统底层架构的优化和修复,比如空间回收、启动项管理、系统优化等诸多功能。

一站式解决诸多问题,比如:关闭微软小娜、关闭 Windows Defender、关闭商店应用推广、隐藏快捷方式小箭头等诸多选项,大家可以慢慢先阅读,认真进行优化。

下载:https://softmall.net/apps/1820
一款免费小巧且功能强大的鼠标增强工具。
有多小巧?
打开软件没有界面,只会在任务栏有一个小图标。
有多强大?
双击任务栏小图标即可看到功能区域,多种快捷控制,保证让你用上就离不开了

功能有多丰富?
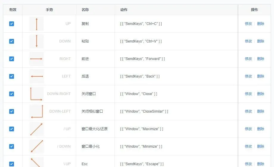
鼠标手势,按住鼠标右键持续移动画出形状,放开右键即可触发对应动作。

手势设置非常的丰富,保证好用。


还可以自定义添加新手势。

更多神奇功能,如:滚轮操作、按键回显、OCR识别等,都在这等着你,等你来花点时间探索。
OBS是一个免费开源的视频录制和直播的强大软件,如果你有视频录制和直播的需求,用这个就对了。

高性能实时视频/音频捕获和混合。创建由多个来源组成的场景,包括窗口捕获、图像、文本、浏览器窗口、网络摄像头、采集卡等。
设置无限数量的场景,您可以通过自定义过渡无缝切换,多个场景随意切换。
直观的混音器,精确掌握每个音源,分别控制。
下载:http://www.downcc.com/soft/22685.html
oCam是一款简单的录屏工具,没有复杂的设置,简单的可调节录制窗口,简单的软件界面,针对只需要录屏的小伙伴,没有复杂的操作,简单直观。

直接调整绿色矩形区域,就是调整录制屏幕区域。点击录制即可开始录制,不用怕学习,非常的简单好用。
下载:https://www.bandicam.cn/
Bandicam-轻松地录屏,录制电脑屏幕上一切活动,不止是屏幕录制,还有设备录制、游戏录制都是没问题的。

从功能方面来说要比oCam复杂一点,可操作性也更强,使用起来就相对复杂了一点。
录屏时,可以手绘涂鸦,划线、荧光笔、画框、点击鼠标动画效果等,很好用。

上面三款软件都是录屏工具,但使用起来却又不一样。
如果你只是简单录屏不用管太多,那么oCam是最合适你的,最简单。
如果你的需求复杂一点,可以尝试使用Bandicam,也是非常不错的。
如果你有多场景录制,同时录制视频和直播,那你真的不能错过OBS,非常的强大,好用。
下载:https://pot2.htxxzx.cn/?bd_vid=11936809858184889708
PotPlayer是一款小巧且简单的最强视频播放器,具有强大的音乐视频播放能力。

它能够支持主流的各种视频和音频格式,对付特殊格式,无需额外的安装视频编解码器。

界面简洁,功能却非常强,足以满足你对视频的各种需求,字幕、滤镜、视频、声音、扩展功能等等实在是太多了。

另外如果搭配上直播源看各种直播也是非常不错的,快来试试吧。
下载:http://www.51xiazai.cn/soft/583826.htm
一款专为截图服务的强大工具。

不仅是截图,它还能将你的截图直接贴在屏幕上,把图片作为窗口置顶显示,各种设置一应俱全。


快捷键F1和F3搭配上Ctrl和Shift轻松实现多种操作,比QQ截图做的还要细节,好用。

下载:https://www.onlinedown.net/soft/10010326.htm
用上就离不开的卸载工具 Uninstall Tool,清理电脑的好帮手,卸载软件都是小意思,更强大的是卸载之后的残留扫描,真正释放你的磁盘空间。

同时软件带来的自启动项管理、Windows 应用商店的管理也是非常实用的,必须安排上。
下载:https://xiazai.zol.com.cn/detail/51/506145.shtml
Windows10版本一键转换是一款windows10版本转换器,若果你用不到那最好,但如果你真的需要了,可真不好找,必须收藏系列。

简单直接,就是对win10进行版本转换,不同的win10版本还是有区别的,除了重新安装系统,就只能使用版本转换工具了。

这是一款能够一键关闭win10自动更新的工具,能够一键关闭或开启win10的自动更新设置,能够避免因系统更新带来的困扰,系统不会再自动更新。

下载:https://423down.lanzouo.com/b0f1t9l0b
这是一款简单高效的系统激活工具,主要针对Windows系统和Office软件进行激活,无需联网直接一键激活。

智能激活、KMS激活、数字激活、OEM激活一站式解决Win系统激活问题。
下载:https://www.softmall.net/apps/1909
一款免费开源简单易用的图片压缩软件,能够批量将图片压缩到指定尺寸、指定压缩比例、指定文件大小,专为高效工作者设计。

支持批量处理功能、多种格式、高级输出设置、安全的隐私保护、视觉无损压缩算法、以及更快的压缩速度。

下载:https://www.pcsoft.com.cn/soft/212570.html
鼠标右键知道不?
那鼠标右键里有多少是你能用到的,有多少是你根本就不知道是啥的?

这款右键管理工具就是能够帮你整理右键菜单轻量小巧的强大工具,为你提供清理右键菜单的功能,不想哪个软件绑定显示,直接关闭即可。

以上就是本期给大家带来的18款软件,都是比较小巧但是却不影响他的强大,每一款都是有自己的独特之处,组合在一起安装在你电脑上,你的电脑使用体验会提升一大截。
——The end——
侵权删除联系邮箱:ywgx@aliyun.com
【往期回顾】
Acrobat Pro PDF 2025安装(Win版)安装包教程
——The end——
如果觉得文章有用,请点一下文末的,分享、推荐给身边有需要的朋友。