
北京市2021年普通高中学业水平等级性考试物理
本试卷共8页
,100分。考试时长90分钟。考生务必将答案答在答题卡上,在试卷上作答无效。考试结束后,将本试卷和答题卡一并交回。
第一部分
本部分共14题,每题3分,共42分。在每题列出的四个选项中,选出最符合题目要求的一项。
1. 硼(B)中子俘获治疗是目前最先进的癌症治疗手段之一、治疗时先给病人注射一种含硼的药物,随后用中子照射,硼俘获中子后,产生高杀伤力的α粒子和锂(Li)离子。这个核反应的方程是()
A. B.
C. D.
2. 如图所示的平面内,光束a经圆心O射入半圆形玻璃砖,出射光为b、c两束单色光。下列说法正确的是()

A. 这是光干涉现象
B. 在真空中光束b的波长大于光束c的波长
C. 玻璃砖对光束b的折射率大于对光束c的折射率
D. 在玻璃砖中光束b的传播速度大于光束c的传播速度
3. 一列简谐横波某时刻的波形图如图所示。此后K质点比L质点先回到平衡位置。下列判断正确的是()

A. 该简谐横波沿x轴负方向传播B. 此时K质点沿y轴正方向运动
C. 此时K质点的速度比L质点的小D. 此时K质点的加速度比L质点的小
4. 比较45°C的热水和100°C的水蒸汽,下列说法正确的是( )
A. 热水分子的平均动能比水蒸汽的大B. 热水的内能比相同质量的水蒸汽的小
C. 热水分子的速率都比水蒸汽的小D. 热水分子的热运动比水蒸汽的剧烈
5. 一正弦式交变电流i - t图像如图所示。下列说法正确的是( )

A. 在t
0.4 s时电流改变方向B. 该交变电流的周期为0.5 s
C. 该交变电流的表达式为
D. 该交变电流的有效值为
6. 2021年5月,“天问一号”探测器成功在火星软着陆,我国成为世界上第一个首次探测火星就实现“绕、落、巡”三项任务的国家。“天问一号”在火星停泊轨道运行时,近火点距离火星表面2.8´102 km、远火点距离火星表面5.9´105 km,则“天问一号”( )
A. 在近火点的加速度比远火点的小B. 在近火点的运行速度比远火点的小
C. 在近火点的机械能比远火点的小D. 在近火点通过减速可实现绕火星做圆周运动
7. 如图所示,在竖直向下的匀强磁场中,水平U型导体框左端连接一阻值为R的电阻,质量为m、电阻为r的导体棒ab置于导体框上。不计导体框的电阻、导体棒与框间的摩擦。ab以水平向右的初速度v0开始运动,最终停在导体框上。在此过程中( )

A. 导体棒做匀减速直线运动B. 导体棒中感应电流的方向为
C. 电阻R消耗的总电能为
D. 导体棒克服安培力做的总功小于
8. 如图所示,高速公路上汽车定速巡航(即保持汽车的速率不变)通过路面abcd,其中ab段为平直上坡路面,bc段为水平路面,cd段为平直下坡路面。不考虑整个过程中空气阻力和摩擦阻力的大小变化。下列说法正确的是( )

A. 在ab段汽车的输出功率逐渐减小B. 汽车在ab段的输出功率比bc段的大
C. 在cd段汽车的输出功率逐渐减小D. 汽车在cd段的输出功率比bc段的大
9. 如图所示的平面内,有静止的等量异号点电荷,M、N两点关于两电荷连线对称,M、P两点关于两电荷连线的中垂线对称。下列说法正确的是( )

A. M点的场强比P点的场强大B. M点的电势比N点的电势高
C. N点的场强与P点的场强相同D. 电子在M点的电势能比在P点的电势能大
10. 如图所示,圆盘在水平面内以角速度ω绕中心轴匀速转动,圆盘上距轴r处的P点有一质量为m的小物体随圆盘一起转动。某时刻圆盘突然停止转动,小物体由P点滑至圆盘上的某点停止。下列说法正确的是( )

A. 圆盘停止转动前,小物体所受摩擦力的方向沿运动轨迹切线方向
B. 圆盘停止转动前,小物体运动一圈所受摩擦力的冲量大小为
C. 圆盘停止转动后,小物体沿圆盘半径方向运动
D. 圆盘停止转动后,小物体整个滑动过程所受摩擦力的冲量大小为
11. 某同学搬运如图所示的磁电式电流表时,发现表针晃动剧烈且不易停止。按照老师建议,该同学在两接线柱间接一根导线后再次搬运,发现表针晃动明显减弱且能很快停止。下列说法正确的是( )

A. 未接导线时,表针晃动过程中表内线圈不产生感应电动势
B. 未接导线时,表针晃动剧烈是因为表内线圈受到安培力作用
C
接上导线后,表针晃动过程中表内线圈不产生感应电动势
D. 接上导线后,表针晃动减弱是因为表内线圈受到安培力的作用
12. 如图所示,在xOy坐标系的第一象限内存在匀强磁场。一带电粒子在P点以与x轴正方向成60°的方向垂直磁场射入,并恰好垂直于y轴射出磁场。已知带电粒子质量为m、电荷量为q,OP = a。不计重力。根据上述信息可以得出( )

A. 带电粒子在磁场中运动的轨迹方程
B. 带电粒子在磁场中运动的速率
C. 带电粒子在磁场中运动的时间
D. 该匀强磁场的磁感应强度
13. 某同学使用轻弹簧、直尺钢球等制作了一个“竖直加速度测量仪”。如图所示,弹簧上端固定,在弹簧旁沿弹簧长度方向固定一直尺。不挂钢球时,弹簧下端指针位于直尺20cm刻度处;下端悬挂钢球,静止时指针位于直尺40cm刻度处。将直尺不同刻度对应的加速度标在直尺上,就可用此装置直接测量竖直方向的加速度。取竖直向上为正方向,重力加速度大小为g。下列说法正确的是()

A. 30cm刻度对应的加速度为 - 0.5gB. 40cm刻度对应的加速度为g
C. 50cm刻度对应的加速度为2gD. 各刻度对应加速度的值是不均匀的
14. 北京高能光源是我国首个第四代同步辐射光源,计划于2025年建成。同步辐射光具有光谱范围宽(从远红外到X光波段,波长范围约为10-5m~10-11m,对应能量范围约为10-1eV~105eV)、光源亮度高、偏振性好等诸多特点,在基础科学研究、应用科学和工艺学等领域已得到广泛应用。速度接近光速的电子在磁场中偏转时,会沿圆弧轨道切线发出电磁辐射,这个现象最初是在同步加速器上观察到的,称为“同步辐射”。以接近光速运动的单个电子能量约为109eV,回旋一圈辐射的总能量约为104eV。下列说法正确的是( )
A. 同步辐射的机理与氢原子发光的机理一样
B. 用同步辐射光照射氢原子,不能使氢原子电离
C. 蛋白质分子的线度约为10-8 m,不能用同步辐射光得到其衍射图样
D. 尽管向外辐射能量,但电子回旋一圈后能量不会明显减小
第二部分
本部分共6题,共58分。
15. 物理实验一般都涉及实验目的、实验原理、实验仪器、实验方法、实验操作、数据分析等。例如:
(1)实验仪器。用游标卡尺测某金属管的内径,示数如图1所示。则该金属管的内径为_______mm。

(2)数据分析。打点计时器在随物体做匀变速直线运动的纸带上打点,其中一部分如图2所示,B、C、D为纸带上标出的连续3个计数点,相邻计数点之间还有4个计时点没有标出。打点计时器接在频率为50Hz的交流电源上。则打C点时,纸带运动的速度vC=________m/s(结果保留小数点后两位)。

(3)实验原理。图3为“探究加速度与力的关系”的实验装置示意图。认为桶和砂所受的重力等于使小车做匀加速直线运动的合力。实验中平衡了摩擦力后,要求桶和砂的总质量m比小车质量M小得多。请分析说明这个要求的理由。()

16. 在“测量金属丝的电阻率”实验中,某同学用电流表和电压表测量一金属丝的电阻。
(1)该同学先用欧姆表“
”挡粗测该金属丝的电阻,示数如图1所示,对应的读数是_______
。

(2)除电源(电动势3.0 V,内阻不计)、电压表(量程0 ~ 3 V,内阻约3 kΩ)、开关、导线若干外,还提供如下实验器材:
A.电流表(量程0 ~ 0.6 A,内阻约0.1 Ω)
B.电流表(量程0 ~ 3.0 A,内阻约0. 02 Ω)
C.滑动变阻器(最大阻值10 Ω,额定电流2 A)
D.滑动变阻器(最大阻值1 kΩ,额定电流0.5 A)
为了调节方便、测量准确,实验中电流表应选用________,滑动变阻器应选用_______。(选填实验器材前对应的字母)
(3)该同学测量金属丝两端的电压U和通过金属丝的电流I,得到多组数据,并在坐标图上标出,如图2所示。请作出该金属丝的U- I图线_____,根据图线得出该金属丝电阻R =________Ω(结果保留小数点后两位)。

(4)用电流传感器测量通过定值电阻的电流,电流随时间变化的图线如图3所示。将定值电阻替换为小灯泡,电流随时间变化的图线如图4所示,请分析说明小灯泡的电流为什么随时间呈现这样的变化。()

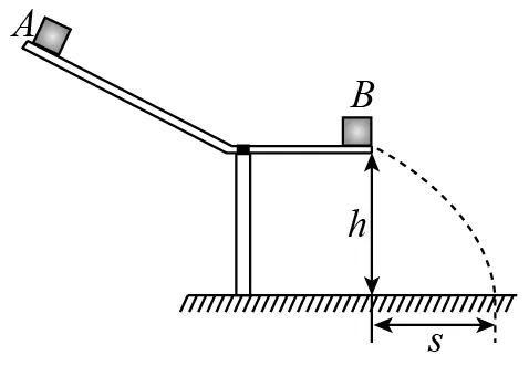
17. 如图所示,小物块A、B的质量均为m = 0.10 kg,B静止在轨道水平段的末端。A以水平速度v0与B碰撞,碰后两物块粘在一起水平抛出。抛出点距离水平地面的竖直高度为h = 0.45 m,两物块落地点距离轨道末端的水平距离为s = 0.30 m,取重力加速度g = 10 m/s2。求:
(1)两物块在空中运动的时间t;
(2)两物块碰前A的速度v0的大小;
(3)两物块碰撞过程中损失的机械能
。

18. 如图所示,M为粒子加速器;N为速度选择器,两平行导体板之间有方向相互垂直的匀强电场和匀强磁场,磁场的方向垂直纸面向里,磁感应强度为B。从S点释放一初速度为0、质量为m、电荷量为q的带正电粒子,经M加速后恰能以速度v沿直线(图中平行于导体板的虚线)通过N。不计重力。
(1)求粒子加速器M的加速电压U;
(2)求速度选择器N两板间的电场强度E的大小和方向;
(3)仍从S点释放另一初速度为0、质量为2m、电荷量为q的带正电粒子,离开N时粒子偏离图中虚线的距离为d,求该粒子离开N时的动能
。

19. 类比是研究问题的常用方法。
(1)情境1:物体从静止开始下落,除受到重力作用外,还受到一个与运动方向相反的空气阻力
(k为常量)的作用。其速率v随时间t的变化规律可用方程
(①式)描述,其中m为物体质量,G为其重力。求物体下落的最大速率
。
(2)情境2:如图1所示,电源电动势为E,线圈自感系数为L,电路中总电阻为R。闭合开关S,发现电路中电流I随时间t的变化规律与情境1中物体速率v随时间t的变化规律类似。类比①式,写出电流I随时间t变化的方程;并在图2中定性画出I - t图线。

(3)类比情境1和情境2中的能量转化情况,完成下表。
情境1 | 情境2 |
物体重力势能的减少量 | |
物体动能的增加量 | |
| 电阻R上消耗的电能 |
20. 秋千由踏板和绳构成,人在秋千上的摆动过程可以简化为单摆的摆动,等效“摆球”的质量为m,人蹲在踏板上时摆长为
,人站立时摆长为
。不计空气阻力,重力加速度大小为g。
(1)如果摆长为
,“摆球”通过最低点时的速度为v,求此时“摆球”受到拉力T的大小。
(2)在没有别人帮助的情况下,人可以通过在低处站起、在高处蹲下的方式使“摆球”摆得越来越高。
a.人蹲在踏板上从最大摆角
开始运动,到最低点时突然站起,此后保持站立姿势摆到另一边的最大摆角为
。假定人在最低点站起前后“摆球”摆动速度大小不变,通过计算证明
。
b.实际上人在最低点快速站起后“摆球”摆动速度的大小会增大。随着摆动越来越高,达到某个最大摆角
后,如果再次经过最低点时,通过一次站起并保持站立姿势就能实现在竖直平面内做完整的圆周运动,求在最低点“摆球”增加的动能
应满足的条件。



通过网盘分享的文件:【免费下载】2021年高考物理试卷(北京)(空白卷)省市高考真题电子版word含解析答案学生教师版
链接: https://pan.baidu.com/s/1i2zLE482o_ruRef7xi5Vmw?pwd=4321 提取码: 4321
--来自百度网盘超级会员v8的分享